
安徽蓝创自动化仪表有限公司
联系人:丁经理
电话:0550-7668199
手机:13965980118
地址:安徽省天长市建设东路124号


AL-YC型音叉液位开关又称(音叉式振动物位开关)是通过压电晶体的谐振来引起其振动的,当受到物料阻尼作用时,振幅急剧降低且频率和相位发生明显变化,这些变化会被内部电子电路检测到,经过处理后,转换成开关信号输出。


一、音叉液位开关概述
AL-YC型音叉液位开关又称(音叉式振动物位开关)是通过压电晶体的谐振来引起其振动的,当受到物料阻尼作用时,振幅急剧降低且频率和相位发生明显变化,这些变化会被内部电子电路检测到,经过处理后,转换成开关信号输出。音叉液位计可以对料罐的高低位进行检测、控制和报警,适用于各种液体、粉末、颗粒状固体。音叉液位计实用简单、运行可靠、适用性强基本上是免维护的、音叉和输出均有工作状态,均用发光二极管指示,可依据习惯调整状态指示,并配有三种输入方式(直流24V、交流110V和交流220V)和多种输出方式(直流电流输出型、继电器接点输出型、直流电压输出型)。所有类型均有高或低故障报警模式和可选择的仪表开关灵敏度。
二、音叉液位开关产品特点
1、运行真正免受流动、湍流、气泡、泡沫、振动、固体含量、涂敷、液体特性以及产品变化的影响
2、不需要标定而且所需要的安装工序最少
3、极性不敏感而且具有短路保护功能
4、无活动零件或缝隙真正实现免维护
5、发光二极管指示,可依据习惯调整状态指示
6、“快速滴落”的音叉设计对于粘性液体具有更快的响应时间
三、音叉液位开关主要技术参数
●介质温度范围:-20℃~150℃;
●环境温度:-20℃~80℃;
●环境湿度:≤95%RH;
●被测介质:液体、粉末或颗粒状固体;
●被测介质密度:固体≥0.1g/cm3 液体≥0.7g/cm3;
●被测固体颗粒尺寸:≤10mm;
●最大液体粘度:<1000mm2/s;
●被测介质安息角:≥200;
●压力范围:≤4MPa;
●壳体材料:压铸铝合金;
●叉体材料:1Cr18Ni9Ti;
●防爆等级:DIIBT4;
●外壳防护等级:IP65;
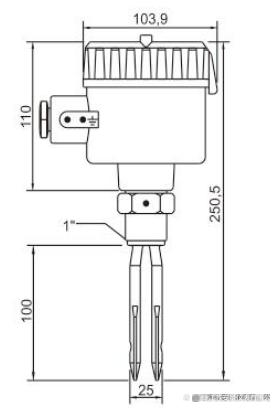
●连接方式:G1”螺纹;
●法兰(用户选定)。
2、电气参数
●供电电压:DC24V;AC220V 50HZ;
●输出信号:继电器输出:8A 220V AC 3A 24V DC;
●电源功耗:≤2W ;
●音叉振动频率:300±50Hz;
●环境振动等级:V.L.4加速度不大于1g ;
●开关信号动作时间:1-60S。

五、电气连接
仪表接线见图所示,仪表接线端的1、2为AC220V,3为大地,4、5为DC24V。6、7、8、9、10、11为两组继电器输出。
1、电源指示灯
2、动作状态指示灯
3、上限、下限报警设置开关
4、灵敏度调节
5、动作释放延迟调节
6、复位按键
红灯-电源指示 绿灯-叉体状态指示
六、调试
●当限位报警选择L,叉体振动以绿灯灭指示,接线端子6和7,9和10为常闭,7和8,10和11为常开,物体碰到叉体时叉体停振,绿灯亮,继电器触点翻转6和7,9和10断开,7和8,10和11闭合。调整延时旋钮报警释放延迟1-60秒。
●限位报警选择处于H状态,叉体振动绿灯亮为指示,接线端子6和7,9和10为常开,7和8,10和11为常闭,物体碰到叉体时,绿灯灭,继电器翻转6和7,9和10闭合,7和8,10和11断开。调整延时旋钮报警释放延迟1—60秒。
●一般情况下将状态调在L段即可,以选择继电器输出端子实现上下限报警。
●灵敏度调整:根据介质的密度调整,密度越低灵敏度应调整越高。
●现场振动比较强烈的情况下造成的误报可将灵敏度适当降低来解决。
●当状态指示选择好后,按说明接线,确认无误后,接通电源,用手轻触音叉端面模拟有物料时,状态指示灯应变换状态,手离开后状态指示应复原。如此反复几次,确认工作正常后方可准备在现场安装。
